当前位置:首页 > 新闻中心 > 科创板 > 晶升股份并购北京为准,谁的“阳谋”?

晶升股份并购北京为准,谁的“阳谋”?

2025-08-27

国产半导体设备商晶升股份突传“跨界”并购消息。

8月25日晚间,晶升股份发布公告称,公司正在筹划以发行股份及支付现金的方式购买北京为准智能科技股份有限公司(下称“北京为准”)的控股权,同时拟募集配套资金。

由于此次交易尚处于筹划阶段,北京为准的估值尚未确定,尚无法确定本次交易是否构成重大资产重组,且无法确定本次交易是否构成关联交易。公司股票自8月26日开市起停牌,预计不超过10个交易日。

公开资料显示,晶升股份总部位于江苏南京,系半导体专用设备供应商,处于半导体产业链的上游,主要向半导体材料厂商及其他材料客户提供半导体级单晶硅炉、碳化硅单晶炉和其他设备等定制化产品。

作为国内碳化硅单晶炉主要厂商之一,该公司生产的半导体级单晶硅炉主要应用于8-12英寸半导体硅片制造,客户覆盖上海新昇、金瑞泓、神工股份三安光电东尼电子、合晶科技、比亚迪等。

      此次并购的对象——北京为准专注于无线通信测试产品研发、生产、销售和服务,其客户群体主要集中在消费电子领域,特别是手机制造商。

      官网资料显示,北京为准成立于2014年,已经为国内外多个主流手机品牌累计数亿部手机提供生产测试服务。

       一个是上游半导体专用设备供应商,一个是下游电子制造测试领域的“专精特新”企业,对于晶升股份来说,此次“跨界”并购究竟能否产生协同效应,目前还要打一个问号。

       从已披露的信息来看,晶升股份尚未明确说明此次并购的目的。8月26日,就此多次致电晶升股份证券部,但截至发稿时公司电话一直处于无人接听状态。

       长期关注半导体行业的业内人士王玉山对界面新闻表示,结合晶升股份和北京为准的主营业务来看,此次并购并不算是产业联动,更像是半导体产业链内的垂直整合。

       那么,晶升股份“看中了”北京为准什么?

       实际上,此次收购标的“北京为准”更像是一家管理公司,其主要业务集中在旗下两家子公司——为准(北京)电子科技有限公司(下称“为准电子”)和深圳为准精机仪器设备有限公司。

       天眼查APP显示,上述两家子公司分别有员工45人、29人。其中,为准电子拥有60项专利信息,主要集中于射频测试等领域。

       资料显示,该公司是国家级专精特新“小巨人”企业,拥有CNAS认可的计量实验室,也是国内唯一通过FiRa 3.0认证的通信测试厂商。其研发体系包括硬件、软件和测试三大部分,涵盖硬件设计、软件开发、算法研究、系统集成和测试验证等领域的专业人员。

       “从行业角度来看,近年来随着无线技术快速迭代,芯片厂商、手机厂商、汽车供应链等制造商在研发生产阶段的测试需求不断增加,无线通信测试场景更丰富,对测试设备提出了更高要求,市场蛋糕也越来越大。”王玉山对界面新闻表示。

       另一方面,晶升股份在半导体晶体生长设备领域的技术积累或可为北京为准的测试设备提供核心部件支持。

北京为准刚刚完成股份制改革        来源:北京为准官网北京为准刚刚完成股份制改革        来源:北京为准官网

       2024年9月,成立十周年的北京为准刚刚完成股份制改革。董事长葛思静、总经理徐逢春分别在会上发言,而两人恰好是晶升股份此次初步确定的交易对方。

       通过天眼查股权穿透,两人目前分别持有北京为准25.6414%和24.2169%股权,合计49.8583%。

       晶升股份称,公司已与二人签署了《股权收购意向协议》,约定公司拟通过发行股份及支付现金的方式购买交易对方合计持有的标的公司控股权,但交易对方的范围尚未最终确定。

       在备受关注的交易对价方面,尚待评估机构出具的评估报告结果作为定价依据、由交易各方协商确定。不过,透过历轮融资情况还是可见一斑。

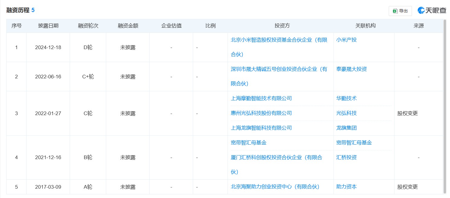
从北京为准的融资之路来看,公司自2017年至今共完成了多轮融资,其中不乏多家上市公司的身影。来源:天眼查APP从北京为准的融资之路来看,公司自2017年至今共完成了多轮融资,其中不乏多家上市公司的身影。来源:天眼查APP

       值得注意的是,从北京为准的融资之路来看,公司自2017年至今共完成了多轮融资,其中不乏多家A股上市公司的身影。

       尤其是在2022年1月的C轮融资中,吸引的投资方包括上海摩勤智能技术有限公司、惠州光弘科技股份有限公司、上海龙旗智能科技有限公司三家公司。

       其中,上海摩勤智能技术有限公司系华勤技术的全资子公司,惠州光弘科技股份有限公司系上市公司光弘科技,上海龙旗智能科技有限公司系龙旗科技的全资子公司。

       截至目前,上述三家公司持有北京为准的比例分别为4.6162%、2.4952%、1.2476%。

       尽管工商信息没有公开彼时北京为准的估值情况,但界面新闻从华勤技术、龙旗科技的招股说明书发现,北京为准2022年的估值就超过7.5亿元。

       其中华勤技术投资3700万元,占北京为准4.89%股份,其整体估值约为7.57亿元;龙旗科技投资1034.86万元,占北京为准1.32%股份,其整体估值约为7.84亿元。

       而到了2023年10月,另一家A股上市公司华兴源创参与了C+轮融资。

       据华兴源创2023年年报披露,公司对北京为准股权投资人民币3510万元。如果按照彼时持股4.1136%计算,北京为准2023年的估值已经达到8.53亿元。

       针对此次收购,界面新闻致电北京为准,但截至发稿时未获回应。

来源:华勤技术招股说明书来源:华勤技术招股说明书
来源:龙旗科技招股说明书来源:龙旗科技招股说明书

       除了多家大A的之外,界面新闻还发现,北京为准的背后还有小米的身影。

       2024年12月,小米旗下北京小米智造股权投资基金合伙企业(有限合伙)(下称“小米智造”)通过D轮融资新晋为北京为准股东之一,持股比例5.5556%。

       雷军通过小米科技、 武汉壹捌壹零企业管理有限公司等,间接持有小米智造28.2894%股权。而随着小米智造参股北京为准,雷军间接持有北京为准1.6239%股份。

       从业绩来看,尽管半导体板块近期在二级市场上风生水起,但晶升股份业绩承压。

       自2023年4月登陆科创板上市以来,公司2024年第四季度首度陷入单季度净利润亏损,进而导致去年“增收不增利”。2024年,晶升股份实现营业收入4.25亿元,同比增长4.78%;对应归母净利润5375万元,同比下滑24.32%。

       今年以来,公司仍未摆脱亏损泥潭,截至一季度末,公司亏损253.3万元,同比由盈转亏。晶升股份对此表示,“主要系本期批量销售的光伏产品受市场影响毛利率较低所致”,并提示今年利润预计仍会面临行业波动和市场竞争带来的挑战。

       反映在资金方面,截至一季度末,公司经营活动产生的现金流量净额为-5097.94万元,同比下降171.62%,对应货币资金1.31亿元,较去年同期下降28.49%。

       因此,如果此次收购标的评估溢价过高,对于手头并不宽裕的晶升股份来说,公司面临的资金压力或进一步显现。

晶升股份业绩承压。来源:同花顺晶升股份业绩承压。来源:同花顺

       今年2月,晶升股份在接受特定对象调研时曾被问及“是否有并购重组相关计划”。对此,晶升股份管理层回应称,“并购六条”发布后,公司高度重视并密切关注并购重组机会,并将此作为重要战略之一。

       “在与公司核心业务有协同效应的领域,我们正在积极寻找相应的产业链投资机会,开展标的公司调研。”晶升股份表示。

       在今年的经营计划中,晶升股份也明确表示,“将深入拓展包括但不限于并购重组、战略合作、外部团队协作、人才引入等多渠道合作模式,通过高效的资源整合与深度的业务融合,为公司的稳健规模扩张提供有力的支撑”。

       对于主营业务持续承压的晶升股份来说,此番并购北京为准将如何落地?在整合半导体产业链下游的同时,未来能否成为公司新的业绩增长点?还有待进一步观察。


(文章来源:新浪财经)

文章标签: 最新 科创板 股票 公司